喜获一项发明专利
发布时间:2022/5/12 11:50:48 浏览次数:391 来源: 金海岸 闫虹
近日,由金海岸公司自主研发的“一种淤泥固化搅拌装置”发明技术获得国家知识产权局授权,并取得发明专利证书。

在江河口、湖泊的综合治理和港口航道的疏浚工程中,会产生大量的疏浚淤泥,通常采用搅拌固化的方式将这些淤泥固化,随后将其作为填筑材料使用,可有效解决原有填筑材料短缺和疏浚淤泥弃置等难题,进而实现资源高效循环利用。

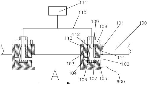
针对目前淤泥固化搅拌装置的固化剂输送口被堵塞无法正常工作、固化剂输送部拆卸、检修不便以及易于损坏等难题,金海岸公司对现有淤泥固化搅拌装置进行优化和创新。本次研发的装置包括搅拌桶、搅拌轴、搅拌叶片等部件,搅拌桶上设置有淤泥入口和淤泥出口,桶壁上设有多个间隔排列的固化剂供给部,固化剂供给部设有固定支架和旋转架。该装置的整个结构紧凑且稳固,可有效避免最接近淤泥的开孔被淤泥堵塞而导致无法正常工作,或在工作结束后固化剂不必要地被喷入搅拌桶内,减少了维修、拆卸频次,同时检修简便,有效节约了生产成本,提高了工作效率。
近年来,金海岸公司不断强化技术创新在生产实际中的应用,该项专利的顺利获批,既是对公司技术能力的肯定,也是对公司创新实力的证明,进一步坚定了技术创新是企业可持续发展的核心驱动力的理念。下一步,金海岸公司将坚持高举创新旗帜,不断提高设备技改和管理创新提升,持续推进技术改革、推陈出新,为公司高质量发展积蓄前进动力。